Product Summary
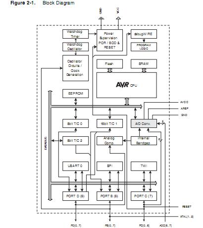
The ATMEGA168V-10AU is a low-power CMOS 8-bit microcontroller based on the AVR enhanced RISC architecture. By executing powerful instructions in a single clock cycle, the ATMEGA168V-10AU achieves throughputs approaching 1 MIPS per MHz allowing the system designer to optimize power consumption versus processing speed. The ATMEGA168V-10AU provides the following features: 4K/8K/16K bytes of In-System Programmable Flash with Read-While-Write capabilities, 256/512/512 bytes EEPROM, 512/1K/1K bytes SRAM, 23 general purpose I/O lines, 32 general purpose working registers, three flexible Timer/Counters with compare modes, internal and external interrupts, a serial programmable USART, a byte-oriented 2-wire Serial Interface, an SPI serial port, a 6-channel 10-bit ADC (8 channels in TQFP and QFN/MLF packages), a programmable Watchdog Timer with internal Oscillator, and five software selectable power saving modes.
Parametrics
ATMEGA168V-10AU absolute maximum ratings: (1)Operating Temperature:-55℃ to +125℃; (2)Storage Temperature:-65℃ to +150℃; (3)Voltage on any Pin except RESET with respect to Ground:-0.5V to VCC+0.5V; (4)Voltage on RESET with respect to Ground:-0.5V to +13.0V; (5)Maximum Operating Voltage:6.0V; (6)DC Current per I/O Pin:40.0 mA; (7)DC Current VCC and GND Pins:200.0 mA.
Features
ATMEGA168V-10AU features: (1)Two 8-bit Timer/Counters with Separate Prescaler and Compare Mode; (2)One 16-bit Timer/Counter with Separate Prescaler, Compare Mode, and Capture Mode; (3)Real Time Counter with Separate Oscillator; (4)Six PWM Channels; (5)8-channel 10-bit ADC in TQFP and QFN/MLF package; (6)6-channel 10-bit ADC in PDIP Package; (7)Programmable Serial USART; (8)Master/Slave SPI Serial Interface; (9)Byte-oriented 2-wire Serial Interface (Philips I2C compatible); (10)Programmable Watchdog Timer with Separate On-chip Oscillator; (11)On-chip Analog Comparator; (12)Interrupt and Wake-up on Pin Change; (13)DebugWIRE On-Chip Debug System; (14)Power-on Reset and Programmable Brown-out Detection; (15)Internal Calibrated Oscillator; (16)External and Internal Interrupt Sources; (17)Five Sleep Modes: Idle, ADC Noise Reduction, Power-save, Power-down, and Standby; (18)4/8/16K Bytes of In-System Self-programmable Flash program memory; (19)256/512/512 Bytes EEPROM; (20)512/1K/1K Bytes Internal SRAM; (21)Write/Erase cyles: 10,000 Flash/100,000 EEPROM; (22)Data retention: 20 years at 85℃/100 years at 25℃.
Diagrams

| Image | Part No | Mfg | Description | ![]() |
Pricing (USD) |
Quantity | ||||||||||||
|---|---|---|---|---|---|---|---|---|---|---|---|---|---|---|---|---|---|---|
![]() |
![]() ATmega168V-10AU |
![]() Atmel |
![]() 8-bit Microcontrollers (MCU) 16kB Flash 0.5kB EEPROM 23 I/O Pins |
![]() Data Sheet |
![]()
|
|
||||||||||||
![]() |
![]() ATMEGA168V-10AUR |
![]() Atmel |
![]() 8-bit Microcontrollers (MCU) AVR,16KB FLASH,20MHZ IND TEMP 1.8V |
![]() Data Sheet |
![]()
|
|
||||||||||||
(China (Mainland))










