Product Summary
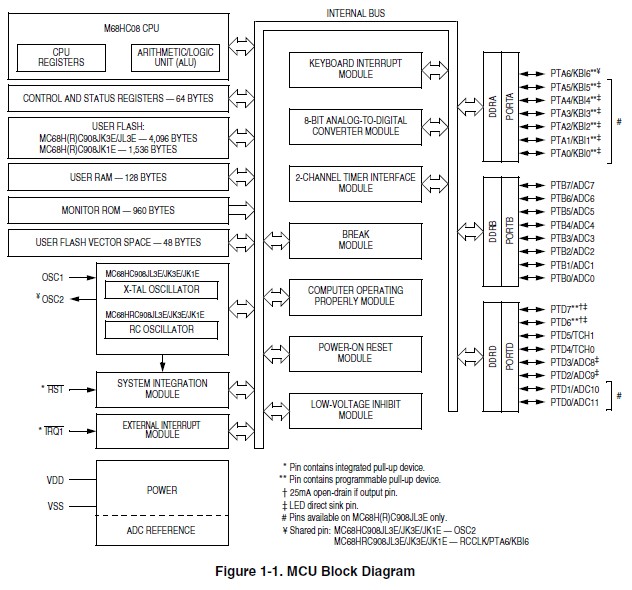
The MC908JL3ECPE is a member of the low-cost, high-performance M68HC08 Family of 8-bit microcontroller units (MCUs). The M68HC08 Family is based on the customer-specified integrated circuit (CSIC) design strategy. All MCUs in the family use the enhanced M68HC08 central processor unit (CPU08) and are available with a variety of modules, memory sizes and types, and package types.
Parametrics
Absolute maximum ratings: (1)Supply voltage, VDD: –0.3 to +6.0 V; (2)Input voltage, VIN VSS:–0.3 to VDD +0.3 V; (3)Mode entry voltage, IRQ1 pin, VDD+VHI: VSS–0.3 to +8.5 V; (4)Maximum current per pin excluding VDD and VSS, I: ±25 mA; (5)Storage temperature, TSTG: –55 to +150 ℃ ; (6)Maximum current out of VSS, IMVSS: 100 mA; (7)Maximum current into VDD, IMVDD: 100 mA.
Features
Features: (1)EMC enhanced version of MC68H(R)C908JL3/JK3/JK1; (2)High-performance M68HC08 architecture; (3)Fully upward-compatible object code with M6805, M146805, and M68HC05 Families; (4)Low-power design; fully static with stop and wait modes; (5)Maximum internal bus frequency: 8-MHz at 5V operating voltage; 4-MHz at 3V operating voltage; (6)128 bytes of on-chip RAM; (7)2-channel, 16-bit timer interface module (TIM); (8)12-channel, 8-bit analog-to-digital converter (ADC); (9)23 general purpose I/O ports; (10)Master reset pin with internal pull-up and power-on reset; (11)IRQ1 with schmitt-trigger input and programmable pull-up; (12)28-pin PDIP, 28-pin SOIC, and 48-pin LQFP packages.
Diagrams

| Image | Part No | Mfg | Description | ![]() |
Pricing (USD) |
Quantity | ||||||||||||
|---|---|---|---|---|---|---|---|---|---|---|---|---|---|---|---|---|---|---|
![]() |
![]() MC908JL3ECPE |
![]() Freescale Semiconductor |
![]() 8-bit Microcontrollers (MCU) MCU 128RAM 4K FLASH A/D |
![]() Data Sheet |
![]()
|
|
||||||||||||
| Image | Part No | Mfg | Description | ![]() |
Pricing (USD) |
Quantity | ||||||||||||
![]() |
![]() MC908AB32CFUE |
![]() Freescale Semiconductor |
![]() 8-bit Microcontrollers (MCU) 32K FLASH & 512 EE |
![]() Data Sheet |
![]()
|
|
||||||||||||
![]() |
![]() MC908AB32CFUER |
![]() Freescale Semiconductor |
![]() 8-bit Microcontrollers (MCU) 32K FLASH & 512 EE |
![]() Data Sheet |
![]()
|
|
||||||||||||
![]() |
![]() MC908AB32MFUE |
![]() Freescale Semiconductor |
![]() 8-bit Microcontrollers (MCU) 32K FLASH & 512 EE |
![]() Data Sheet |
![]()
|
|
||||||||||||
![]() |
![]() MC908AP16ACBE |
![]() Freescale Semiconductor |
![]() 8-bit Microcontrollers (MCU) MCU 16K FLSH HS OSC |
![]() Data Sheet |
![]()
|
|
||||||||||||
![]() |
![]() MC908AP16ACFAE |
![]() Freescale Semiconductor |
![]() 8-bit Microcontrollers (MCU) MCU 16K FLSH HS OSC |
![]() Data Sheet |
![]()
|
|
||||||||||||
![]() |
![]() MC908AB32VFUE |
![]() Freescale Semiconductor |
![]() 8-bit Microcontrollers (MCU) 8 BIT MCU 32K FLASH 512E |
![]() Data Sheet |
![]() Negotiable |
|
||||||||||||
(China (Mainland))









